
油气分离器:寿命与更换步骤如何把
油气分离器是将润滑油与压缩空气进行分离的核心部件,通过其分离作用可获得更洁净、无

如何处理压缩机润滑油异常与油气分
当压缩机润滑油消耗显著增加时,应首先检查油过滤器、管道及回油管是否堵塞,若存在堵

油气分离器过期不换有哪些隐患?
空气压缩机的稳定运行,离不开核心部件的高效协同,油气分离器便是其中关键一环——它

油气分离器关键要点有哪些?
油气分离器是将混合油气流体分离为油和气体的常用设备,在石油工业中起着至关重要的作

油气分离器出故障会引发哪些问题?
油气分离器是分离发动机内部产生的油雾与废气的装置,通常应用于汽油直喷发动机。若油

油气分离器的核心作用是什么?安全
油气分离器是将油井产出的原油与伴生天然气分离的装置。它通常安装在潜油离心泵和保护

什么情况下需要更换油气分离器?
油气分离器是压缩空气系统中分离压缩空气中油污、杂质的关键部件,其性能直接影响压缩

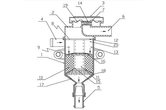
油气分离器如何实现油气高效分离?
油气分离器是石油开采及空气压缩系统中分离原油与伴生天然气、压缩空气与油雾的关键设