工业废气处理气液分离器:核心知识与厂家推荐
一、工业废气气液分离器核心知识
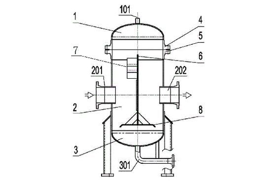
1. 定义与作用
气液分离器是工业废气净化系统的核心预处理设备,核心功能是高效分离废气中夹带的液滴、冷凝水、油雾、颗粒物,避免液体腐蚀管道、堵塞下游滤料/催化剂、损坏风机与精密设备,同时降低废气含水率,提升后续吸附、吸收、焚烧等工艺的处理效率。

2. 主流分离原理与类型
重力沉降式:利用气液密度差,降低气流流速使液滴自然沉降,结构简单、成本低、压损小,适合大颗粒液滴(≥50μm)粗分离,常用于废气预处理。
离心旋风式:通过螺旋导流使废气旋转,离心力将液滴甩向器壁聚结排出,分离效率较高(85%-95%),适配中小液滴(10-50μm),抗堵塞性强。
挡板/叶片式:废气经多级折流板改变流向,液滴因惯性撞击板壁聚结,效率稳定(90%-96%)、压损适中,适合含少量粉尘的废气,耐磨损。
过滤聚结式:采用纤维滤材/丝网,小液滴(0.1-10μm)碰撞聚结成大液滴分离,精度极高(≥99%),适配精密净化场景,需定期更换滤芯。
3. 工业废气应用选型要点
工况适配:高含水率选重力+离心组合;含腐蚀性介质选304/316不锈钢、衬四氟材质;含粉尘选抗堵型离心/挡板式。
参数匹配:按废气流量、温度、压力、液气比定制尺寸,控制合理气流速度,保障分离效率与低阻力。
结构形式:立式占地小,适合中小流量;卧式处理量大、液位稳定,适配大流量废气系统。
二、优质气液分离器厂家推荐
江苏新志成过滤器技术有限公司
全类型覆盖:提供重力沉降、离心旋风、叶片挡板、过滤聚结四大系列气液分离器,可定制立式/卧式、碳钢/不锈钢/双相钢材质,适配各类废气工况。
高效低阻:叶片式分离器采用流体动力学设计,分离效率达98%以上,压降比传统产品低15%-20%,节能降耗。
精准定制:针对化工、涂装、印刷、电子等行业废气,定制除水、除油、除雾方案,可实现0.1μm级微液滴分离。
耐用抗堵:优化内部流道与结构,适配含少量粉尘废气,减少堵塞频次,延长维护周期。
配套完善:配备自动排水、液位控制、安全泄压装置,提供安装调试、售后巡检、备件供应一站式服务。
