旋风分离器到底有没有用?看完这篇文章你就知道了
发表日期:2023-03-29 13:56:09
浏览量:3423
别以为一台冷干机就能解决一切问题!
事实上,在冷干机或吸干机的前后端,应安装三个不同过滤精度的分离过滤器。
为确保大颗粒杂质不会影响设备的正常运转和气源的清洁度。
而旋风分离器,常常是被忽视的一员!
由于其分离精度过低,许多业内人士将其视为粗糙的分离器。
真的是这样吗?

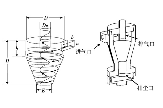
可以看出,旋风分离器的工作原理非常简单。气流进入进气口后,密度大的颗粒会被叶片旋转产生的离心力甩向器壁。然后沿着器壁流下,从下面的排尘口排出。旋转的气流向中心收缩,向上形成涡流,从排气口排向后方设备,完成分离工作。目前,新型旋风分离器将底部的锥形改为直筒形,可以提高分离效率,降低能耗。
尽管旋风分离器只能分离5微米以上的杂质,但如果放在所有过滤器的前端,可以保护后面的设备。
由于大颗粒的杂质进入后面的滤芯式过滤器,过滤器的使用寿命会降低!
看到这儿,还有人会质疑旋风分离器的作用吗?
